아하
  • 토픽

  • 스파링

  • 잉크

  • 미션


선량한들소238

선량한들소238

산재 , 실손 중복보상관련질문

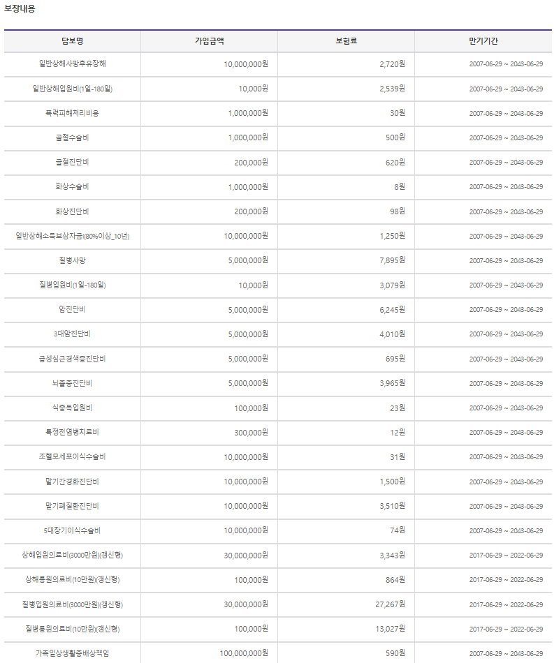
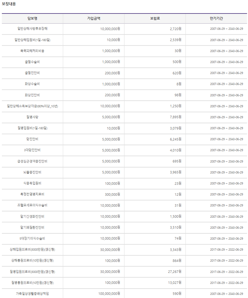
안녕하세요. 아버지께서 흥국화재 0704무배당 다모아가족사랑보험 실손으로 2007.06.29에 가입을하셨고

2019년 2월 29일에 퇴근을하시다 지하철인파에 떠밀려 넘어지셔서 고관절골절로인해 입원과 수술을하셨었습니다.

그리고 의사의 진단에따라서 최소 1년에서 1년 6개월정도후에 피빼는 수술을 한번더 해야한다고해서

2020년 3월 3일에 수술을 받으셨습니다.

여기서 질문입니다.

2019년에 수술을 받으실때 산재보험에서 보험금을 지급받기전에

보험사에 보험금청구를 했었고 그때 중복보상을 타셨습니다.

2020년 3월 수술건으로 다시 보험금청구를 하려고 자료를보냈더니 2019년도에 수술한건이 산재처리되어

오히려 돈을 입금해야 할수도있다고하더군요

너무 급작스러워서 찾아보니까 역시 보험사말대로 실비와 산재는 중복보상이안된다고 되어있었는데

예외로 2009년 7월이전에 가입한 실손중에 담보명에 상해의료비가있다면 중복보상이 가능하다고 되어있더라구요.

아버지께서 가입한건 2007.06.29 이고 담보명에도 상해입원의료비와 통원의료비가 명시되어있는데

이경우 보험사말대로 돈을 입금해야하는건가요? 아님 2009년 7월이전에 가입한거에따라 정당한 보상인가요?

희망을 갖고 써보지만 저 갱신형이라고 써져있는게 마음에걸리네요..

7개의 답변이 있어요!

  • 탈퇴한 사용자

    탈퇴한 사용자

    안녕하세요. 홍성종 보험전문가입니다.

    일단 상해입.통원의료비는 연간 보장 한도 입니다.

    과정이 어찌되었건 19년 2월 29일 사고건에 대해서는

    20년 3월1일까지만 보장 받습니다.

    이 후 재수술이나 후유증으로 병원치료비용은 보장 되지 않습니다.

  • 안녕하세요.

    7년 차 간호 근무 경력이 있는 권진주 설계사입니다.^^

    올려주신 증권의 실손의료비 명칭이

    일반상해의료비가 아닌

    상해 입원/ 통원 의료비입니다.

    산재사고나 자동차사고시 중복으로 보장 받을 수 있는

    실비의 명칭은 '일반상해의료비' 입니다.

    확인해보실 부분

    1. 중복보장을 받으신 부분이 정말 산재로 받은

    의료비를 실손의료비에서 중복으로 보장 받으신게 맞으신가요?

    가입하신 보험에서 골절수술비,상해관련 수술비를 받으셨을 경우 중복보장으로 오해하실 수 있어서 여쭤봅니다~

    수술비의 경우 정액형 특약으로 실비와는 별로도 지급이 됩니다.

    1. 산재처리 되기 이전에 실비를 먼저 청구했을까요?

    그렇게 됐을 경우 중복지급된 실비를 입금하실 수도 있습니다. 일반상해의료비가 아니기 때문.

    가입하신 실비의 시점이 실비가 표준화되기 이전의 가입시기라 보험회사마다 약관이 상이할 수 있습니다.

    가입하신 회사와, 보험명칭, 올려주시면 제가 약관 확인해드리겠습니다

    🍀답변이 도움이 되셨길 바라며 남은 하루도 좋은 하루 보내시길 바랍니다.🍀

    [정직한 설명과 현명한 설계 약속드립니다.]

  • 안녕하세요. 김재철CFP입니다.

    답변부터 드리자면 상해통원의료비와 산재보험은 중복보상되지 않습니다.

    이는 상해의료비 담보와 구분되는 것으로 상해의료비 담보에서는 산재 또는 자보처리되면 50%에서 보상받을수 있습니다.

    위 논쟁을 제쳐두고라도 상해통원의료비는 상해일로부터 1년간 보상하고 있기 때문에 그 기간도 지나셨기 때문에 금번치료는 보상받으실수 없습니다.

  • 안녕하세요? 아하(Aha) 보험 분야 지식답변자 강샛별보험전문가입니다.
    질문하신 내용에 대하여 아래와 같이 답변 드립니다.상해의료비담보는 중복보상 가능하지만 입통원비라면 비례 보상됩니다

  • 안녕하세요. 안미정 보험전문가입니다.

    상해의료비지급기준이 있습니다. 자동차보험이나 산재로 처리한 경우라도 병원비의 50%를 실비에서 지급받을수 있는 담보입니다

    이케이스에서는 실비청구를 해 100%를 지급받았기 때문에 50%에 대한 보험금을 반환청구할 수 있습니다. 회사가 어떻게 나오는지 기다려야할듯 싶습니다

  • 안녕하세요. 정광성 손해사정사입니다.

    알고 계신것처럼 2009년 9월 이전 구 실손의 경우 산재 사고에 대한 중복 보상이 가능한 상품입니다.

    보험회사에서 이에 대해 확인하고 처음 보험금이 지급되었을 것으로 보이나 보험 약관을 살펴볼 필요성은 있어 보입니다.

  • 안녕하세요? 아하(Aha) 보험 분야 지식답변자 보험전문가입니다.
    질문하신 내용에 대하여 아래와 같이 답변 드립니다.

    - 질문자님의 가입하신 상품은 상해입원/통원의료비로 산재보험과 중복처리가 불가능합니다.

    약관상 보상하지 아니하는 손해에 아래와 같이 기재되어있습니다.

    [자동차보험 또는 산재보험에서 보상받는 의료비, 단 본인부담 의료비는 보상하여 드립니다.]

     따라서 산재보험과 개인 실손의료비는 중복처리 받을수 없습니다. 중복처리가 가능한 담보는 '상해의료비'담보로 '상해통원/입원의료비'와는 다릅니다.