지금 넣고 있는 실비보험인데 문의드립니다.
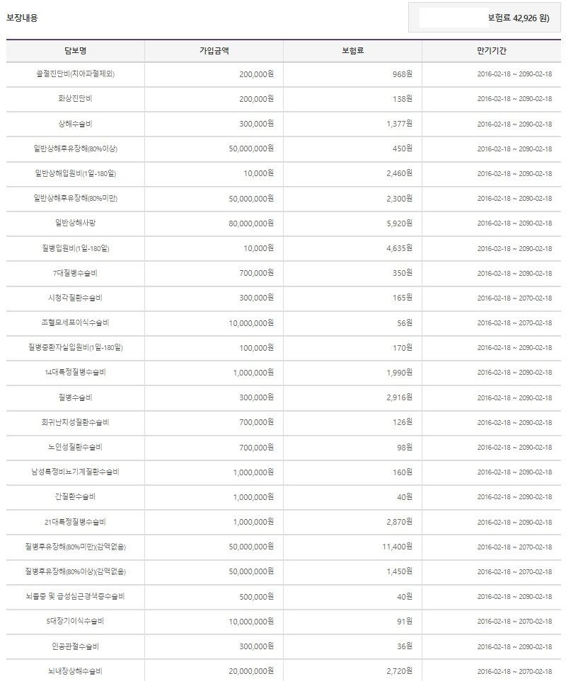
지금 넣고 있는 보장내용 입니다.
혹시 이중에 필요없는 항목이 있을까요?
처음엔 합쳐서 5만원 정도 납부 한것 같은데
매년 갱신되더니 현재는 이정도 금액이네요
실제 납부는 7만원 정도입니다
나이는 30초반입니다
안녕하세요. 홍성종 보험전문가입니다.
이걸 정리 하고 100세만기로 종합보험을 준비 하지 않을거면 굳이 정리할 이유가 없습니다.
기존보험은 유지하고
3대 진단에 대해서만 보강 하면 되겠습니다.
안녕하세요. 문효상 보험전문가입니다.
우선 실비 3만대+ 건강보험 4만대 나가고 계십니다.
실비가 갱신이 되어서 가격이 오른것 같습니다.
실비는 전기간 갱신상품이며 전기간 납입상품입니다. (모든 보험사가 동일)
실비가 가격이 오르는건 어쩔수 없죠.. 병원을 자주 안다니는 사람이라면 4세대 실비로 전환하면 1만원대로 저렴합니다.
두번째 건강보험은.. 실비랑 같이 해서 5만원에 팔려고..설계한 느낌이네요..
사실 정작 중요한 암진단금, 뇌혈관진단금, 허혈성심장질환 진단금, 같은 경우는 하나도 없네요..
사실 가격이 저렴한건 저렴한 이유가 있습니다.
질병 수술비, 상해수술비, 입원비, 상해, 질병 후유장해, 골절진단비, 화상진단비 말고는 ..
보험료가 저렴한 것은 ..그만큼 사고율이 적기 때문에 저렴한거죠..
사실 필요없는 항목을 찾는 다기 보다.... 보장이 오히려 잘 안된다고 생각 할 수 있습니다.
안녕하세요. 김동우 보험전문가입니다.
실비가 2세대 표준화실손 같으신데 혹시 실손을 좀 많이 청구를 하신 건 아니신지요?
우선 보장성 보험의 특약 중 부분해지를 해도 되는 특약을 말씀드릴께요.
-화상진단비, 일반상해후유장해(80%이상), 일반상해후유장해(80%미만)
시청각질환수술비, 희귀난치성질환수술비, 남성특정비뇨기계, 노인성질환수술비
질병후유장해(80%이상), 질병후유장해(80%미만)
이상이 보장성 보험에서는 그닥 필요가 없는 특약입니다.
그리고 혹시라도 보장성보험을 추가가입 하실 생각이시라면
상해후유장해(3%이상) - 1억
상해수술비 - 100만
암, 뇌, 심장 질환 진단비를 추가하셔야 할 듯 싶습니다.
도움이 되셨길 바래요~
안녕하세요. 장재영 보험전문가입니다.
-가성비 떨어지는 입원일당 삭제 의견
-상해사망 최저로 감액 or 삭제 의견
그 외 너무 자잘한 특약인데요
희귀성 질환, 노인성질환 등 같이 삭제 하시는 것을 권고드립니다.
🍀추가 문의는 댓글이나 프로필 확인하여 문의주세요.
안녕하세요? 아하(Aha) 보험 분야 지식답변자 보험전문가입니다.
질문하신 내용에 대하여 아래와 같이 답변 드립니다.보험의 필수는 없다고 생각하지만 대부분 사람들이 많이 가입하는 보험을 살펴보자면 아래와 같은 보험은 기본적으로 가입하였다고 생각합니다.
1. 실손의료비
: 질병, 상해로 인한 병원비를 보상
실손보험만 구성한다면 금액도 저렴하고 평소 병원비 출혈에 대한 대비도 가능합니다. 또한 보장범위도 가장 넓기 때문에 가장많은 사람들이 가입하고 유지하는 보험입니다. 또한 중복보장이 되지 않기 때문에 여러개의 실손의료비를 가입하실 필요는 없습니다.
2. 건강보험
: 암, 뇌혈관, 심혈관 및 수술을 보장하는 보험
종신보험을 유지하고 계신다면 부족한 진단에 대한 담보를 구성하는것이 좋습니다.
3. 자동차보험
: 자동차를 소유하고 운전을 하신다면 의무로 가입하셔되는 보험( 대인 + 대물 )
4. 운전자보험
: 역시 운전하신다면 운전으로 인한 사고시 변호사선임비용, 민형사 합의 및 벌금을 보장하는 보험
보험이라는거 자체가 미래의 위험을 대비하여 불확실성에 대한 금전적인 안정장치를 만들어 두는것으로 반드시 필요한 담보는 없습니다. 오히려 가족력이나 본인 건강상태를 참고하여 담보를 적절하게 가입하시는게 좋습니다.
보험은 장기적인 시각으로 가입하셔야되기때문에 무리가 없는 금액으로 하는것을 추천합니다.
안녕하세요. 안금자 보험전문가입니다.
실비 부분이 갱신되서 보험료가 오른것이며, 실비는 43,000원 이고. 나머지는
보장성 보험 특약 이군요.
질병 입원 만원을 빼고 싶군요. 그리고 질병 후유장애도 2000 정도만 남기고 뺐으면 좋겠네요.70대 이후 보장받을 확률이 큰 특약이네요. 남자 분이시면 상해담보느노그냥 두고 싶네요.

