교보CI보험 / MG 종합보험 어떤 게 좋을까요?
안녕하세요.
저는 올해 만 31세 여성입니다.
제가 2014년 2월에 가입한 더든든한무배당교보통합CI 보험이 있는데요.
간단한 계약 내용은 위와 같습니다.
요즘 CI 보험 안 좋다는 얘기가 많아서 다른 보험으로 바꾸려고 알아보는 중입니다.
그래서 추천을 받은 게 MG손해보험 인데요.
이렇게 추천 받아서 가입 진행 중인데요.
보험설계 하시는 다른 분께서 교보CI보험은 절대 해지하지 말라고 너무 강력하게 말씀하셔서요.
CI 라고 되어있어도 옛날에 가입한거라 보장되는 게 더 많고, 암 진단 받으면 금액도 더 많고, 지금 가입할 MG손해보험보다 보장되는 게 훨씬 좋다고 하는데, 둘 중에 어떤 걸 가입하는 게 더 좋을까요..?
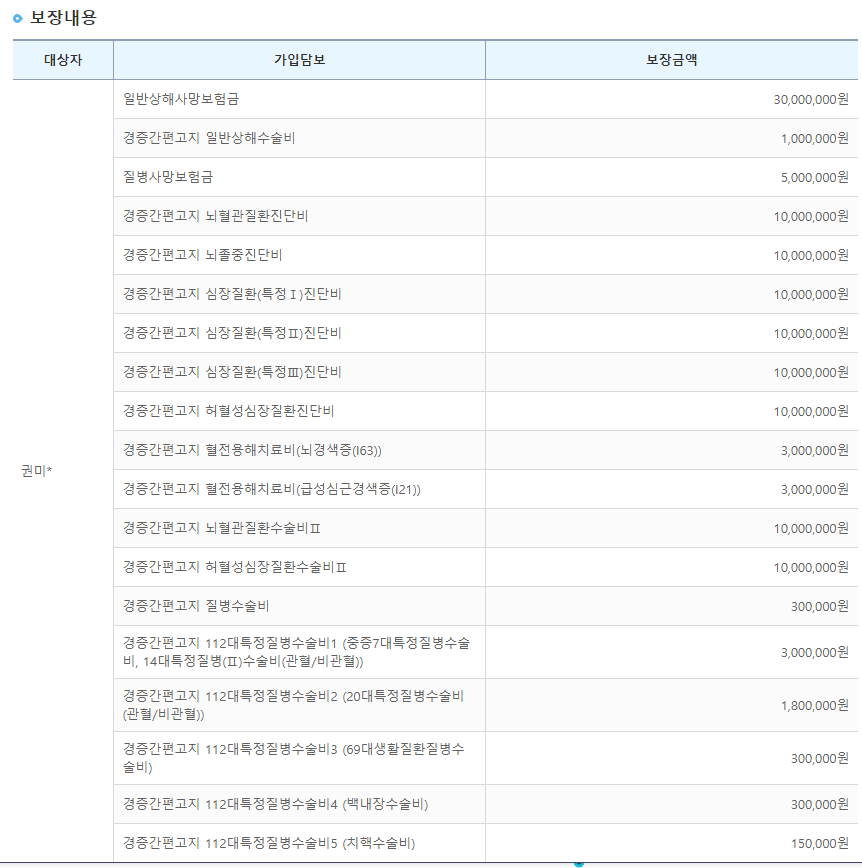
경증간편고지로 가입 진행 중인 이유는 정신과 약 복용 때문입니다..
두 개 다 의견이 너무 분분해서 머리가 아픕니다 ㅠㅠ
MG손해보험 추천해 주신 분도 보험설계사 분이신데 CI 보험은 무조건 해지해야 한다고 하시면서 "중대한"이 들어가 있기 때문에 뇌출혈, 뇌경색이 와도 받을 수 있는 확률이 거의 없다고 하시네요.
교보생명은 30년 납입 중 100회 납입하였고, MG손해보험은 20년납 비갱신형입니다.
안녕하세요. 김성준 보험전문가입니다.
ci 보험은 이름 그대로 사고나 질병으로 인해 중병 상태가 지속될 때 보장이 가능한 상품으로 보장 가능한 상황이 다른 건강 관련 보험에 비해서 극히 드뭅니다.
그렇기에 섣불리 가입하시고 후회하시는 분들이 많은 평가가 굉장히 안 좋은 대표적인 보험상품입니다.
그렇다고 납입보험료가 저렴하지도 않죠..
의료실손보험(실비)처럼 보장 범위가 넓은 보장성 보험을 저렴하게 가입하고 연금저축보험 같은 저축성 보험으로 노후대비를 하면서 매년 연말정산 때 세액공제를 받으시는 것이 훨씬 유리합니다.
항상 특정 보험사보다는 보험 비교 몰에서 동일한 조건, 보장 대비 저렴한 곳에서 가입하시는 것을 추천드립니다.
늘 건강하시고 좋은 일 가득하시길 바랍니다.
안녕하세요. 여기수 보험전문가입니다.
CI보험은 종신보험 입니다.
사망하기전에 중대한질병, 중대한수술, 중대한 화상 및 부식이 발생하였을때 사망보험금에서 정해진 비율만큼 선지급하는 형태의 보험입니다.
보장 받기 힘든 보험에 비용을 지불하시기 보단, 확실하게 보장받을수 있는 보험을 준비하시길 바랍니다.
30대 여성분에게 사망보장은 크게 와닿지 않으실거라고 봐요.
보험 가입전에 원칙을 잘 세우셔서 한번가입하시고 다시 리모델링하시는일이 없길 바라겠습니다. :)
안녕하세요. 장재영 보험전문가입니다.
교보CI보험의 경우 사망보장 + 중대한 질병을 보장하는 보험으로
중대한 질병은 "일반 암"만 보장된다고 보면되며
대부분의 보험료가 사망 보장에 치중되어 있어 여성에게 추천드리기 힘든 상품입니다.
30년납 중 100회 납입 하셨지만 아직 납기가 많아 정리의견드립니다.
추가로 회원님의 경우 정신과 약을 복용중이라도
암 진단비는 건강체로 준비 가능한 보험사가 있습니다.
모두 간편으로 할 경우 보험료가 높게 나올 수 밖에 없죠.
어떤 질병코드로 치료를 받으셨는지에 따라 분리해서 구성하시는 것이 훨씬 효율적입니다.
2대(뇌, 심장) 보장의 경우도 상기 보험사가 최선이 아닙니다.
보험료가 높으니 타사 비교 후 합리적인 구성으로 준비 하시길 바래요.
🍀 추가 문의는 댓글 남겨주세요.
안녕하세요. 정구철 보험전문가입니다.
CI보험의 암진단의 경우 일반암도 보장이 되기 때문에 나쁘지 않습니다.
그런데 암진단자금이 갱신형이라 고민이 좀 필요합니다. 보험료가 어떻게 얼마나 오를지 알수 없습니다.
또한 보장별로 MG보다 저렴한 보험사가 있으니 여러보험사에 알아보시기 바랍니다.
안녕하세요. 김재용 보험전문가입니다.
1기존꺼도 하자 소개받은거도 하자입니다.
ci라고해도 진단이 많아보이나 중대한떄문에 실질적으로 받기가힘듭니다 + 30년납이여서 더비쌉니다
ci 보험은 보장성의 비율이 10%라면 나머지90%는 사망에 치중되어있는 종신보험입니다 .
보장성으론 지금 받으신 보장이훨씬좋은거이신게 맞긴한대요
다만 설계사 바꾸시는게좋습니다
20년납 비갱신인줄 알고계십니다만 갱신형담보 들어가있습니다
+ 표적항암 = 종수술비에서나옵니다 연간3회까지도나오는 보험사있으며 매년3회씩 평생받을수있으며 비갱신입니다
지금 표적항암허가약물은 모든 암진단에 다나오는게 아니며 허가된 약물만 나옵니다
저거 정말 비추천하는 담보입니다.
정신과약을 얼마나드셨는지를 잘모르지만
본인판단하에 .
앞으로 안먹을거같고 + 건강할꺼같다 = 갱신형으로 간편플랜으로 싸게준비하시고
5년만 약안먹고 병원안가면 그때 건강체 할인으로 비갱신가입하는게
지금 5년어릴때 간편으로 가입하는거보다 훨씬싸고 저렴합니다
다만 5년내 병원가면 미뤄지니 장단이있습니다.
또 지금담보안에서 수술비 다 버리시고
종수술 하나면됩니다
안녕하세요. 김선우보험전문가입니다.
네 맞아요 ci 보험은 안하시는게 좋으세요
갈아타시는 내용을 보면 너무 보장이 낮아요
그리고 표적 항암치료 특약도 없고 필요 한 특약들이 많지 않네요
해당궁금 하신거나 추가로 더 알고 싶으시면 도와드려요 프로필 보고연락주세요

